Replacement Engine, Crankcase Housing, Belt Tensioner

101-000

REPLACEMENT ENGINE A170

101-001

REPLACEMENT ENGINE 9770

101-005

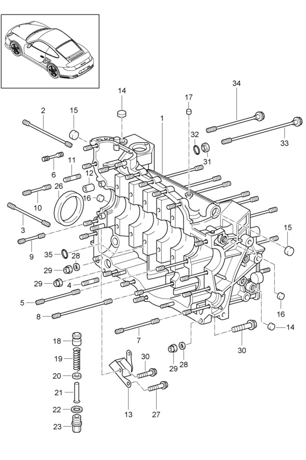
CRANKCASE HOUSING A170

101-007

CRANKCASE HOUSING LEFT 9770

101-008

CRANKCASE HOUSING RIGHT 9770

101-010

BELT TENSIONER V BELT A170

101-015

BELT TENSIONER BELT DRIVE 9770

Crankshaft, Piston, Cylinder With Pistons

102-000

CRANKSHAFT A170

102-002

CRANKSHAFT 9770

102-005

PISTON A170

102-007

CYLINDER WITH PISTONS 9770

Cylinder Head, Chain Case, Camshaft, Camshaft Housing, Valve Control

103-000

CYLINDER HEAD WITH: VALVES CYLINDER HEAD GASKET VALVE COVER A170

103-002

CYLINDER HEAD 9770

103-005

CYLINDER HEAD ACCESSORIES VALVES A170

103-007

CHAIN CASE CHAIN TENSIONER 9770

103-010

CAMSHAFT HYDRAULIC TAPPET CAMSHAFT ADJUSTER UNIT A170

103-012

CAMSHAFT HOUSING 9770

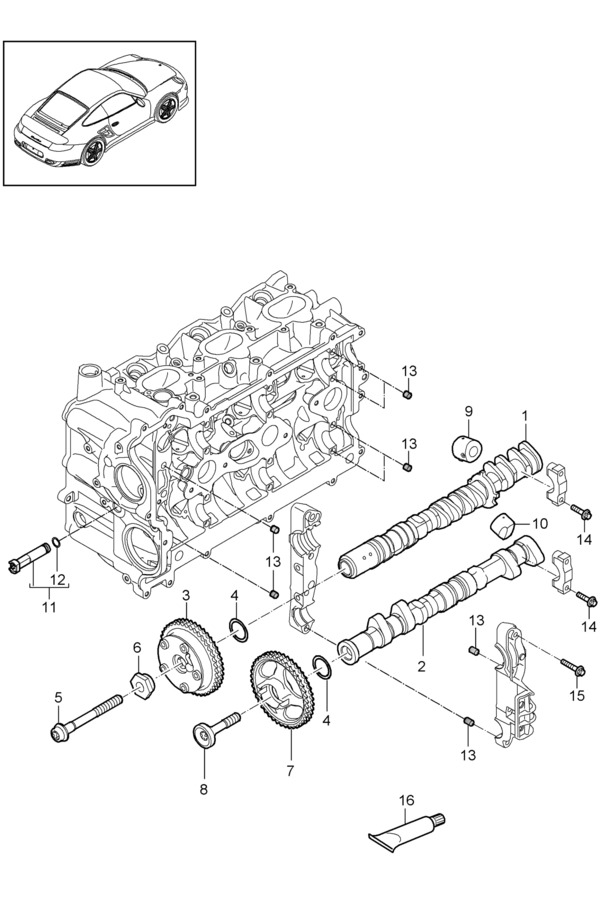
103-015

VALVE CONTROL A170

103-017

VALVE CONTROL 9770

Oil Pump, Oil Sump, Engine Lubrication, Crankcase Housing, Oil Filter, Oil Supply

104-000

OIL PUMP A170

104-001

OIL PUMP 9770

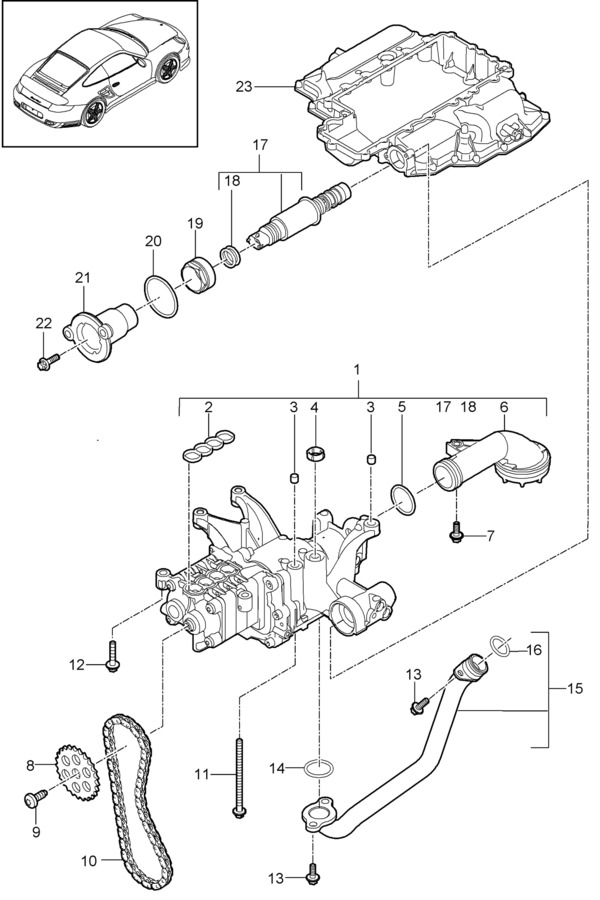
104-002

OIL SUMP A170

104-005

ENGINE LUBRICATION A170

104-007

ENGINE LUBRICATION OIL TANK 9770

104-010

CRANKCASE HOUSING BLEEDING TANK VENTILATION VACUUM PUMP A170

104-015

OIL FILTER CONSOLE 9770

104-020

OIL SUPPLY RETURN LINE 9770

Coolant Pump, Assembly Carrier, Lines, Connection, Water Cooling 1, Water Cooling 2, Water Cooling 3, Radiator, Water Cooling 4

105-000

COOLANT PUMP THERMOSTAT HOUSING A170

105-002

COOLANT PUMP WATER PUMP HOUSING 9770

105-003

ASSEMBLY CARRIER WATER PIPE A170

105-004

LINES HEATER GT2 RS 9770

105-005

CONNECTION WATER PIPE A170

105-006

WATER COOLING 1 A170

105-008

WATER COOLING 1 9770

105-010

WATER COOLING 2 A170

105-011

WATER COOLING 2 9770

105-015

WATER COOLING 3 A170

105-016

WATER COOLING 3 9770

105-017

RADIATOR CENTER A170

105-018

RADIATOR CENTER 9770

105-020

WATER COOLING 4 A170

105-021

WATER COOLING 4 9770

Air Filter

106-000

AIR FILTER A170

106-002

AIR FILTER 9770

Vacuum Control, Throttle Valve Adapter, Fuel Collection Pipe, Intake Air Distributor, Turbocharging

107-000

VACUUM CONTROL A170

107-002

THROTTLE VALVE ADAPTER 9770

107-005

FUEL COLLECTION PIPE HIGH PRESSURE PUMP A170

107-007

FUEL COLLECTION PIPE 9770

107-010

INTAKE AIR DISTRIBUTOR THROTTLE VALVE ADAPTER A170

107-012

INTAKE AIR DISTRIBUTOR 9770

107-020

TURBOCHARGING A170

107-022

TURBOCHARGING 9770

Exhaust Purification System W., Air Injection

108-005

EXHAUST PURIFICATION SYSTEM W. SECONDARY AIR INJECTION A170

108-007

AIR INJECTION 9770

Engine Suspension

109-000

ENGINE SUSPENSION A170

109-002

ENGINE SUSPENSION 9770