Car Body, Bungs, Front End, Dome Strut, Floor, Rear End, Wing, Scuttle, Side Part, Linings

801-000

BODY SHELL

801-002

BUNGS

801-005

FRONT END

801-010

FRONT END INDIVIDUAL PARTS

801-015

DOME STRUT

801-020

FLOOR CENTER

801-035

REAR END

801-040

WING

801-045

SCUTTLE

801-050

SIDE PART INNER COUPE

801-055

SIDE PART OUTER COUPE

801-060

SIDE PART INNER CABRIO

801-065

SIDE PART OUTER CABRIO

801-070

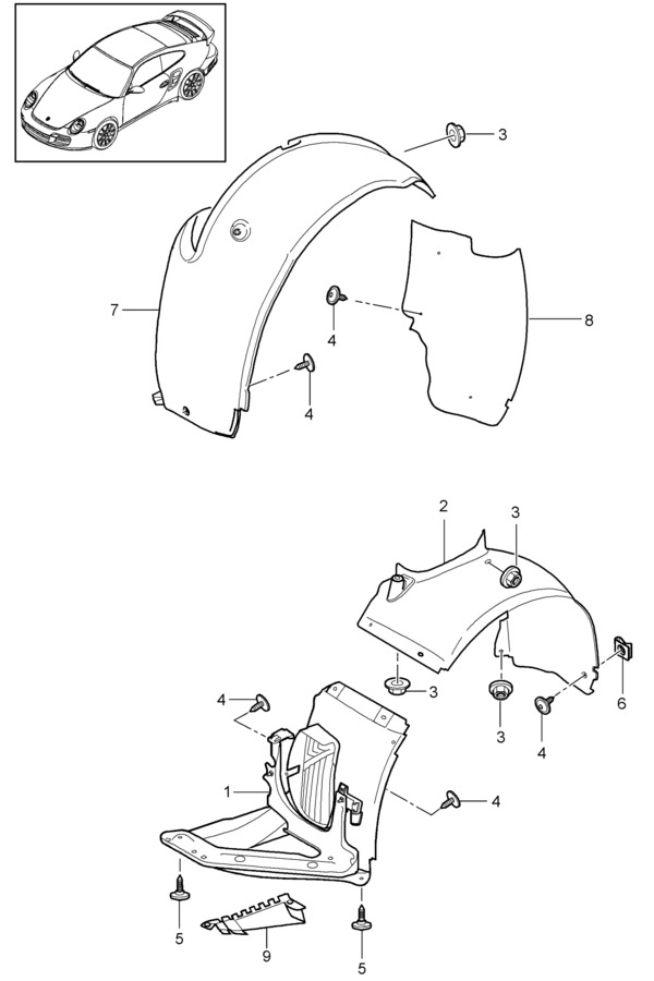
LININGS UNDERBODY

801-075

LININGS WHEEL HOUSING

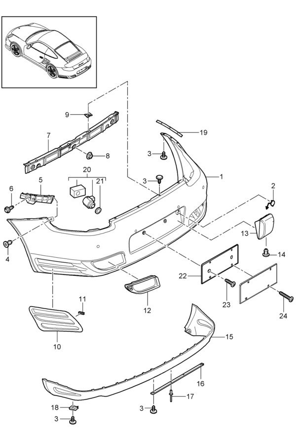
Bumper, Trim

802-000

BUMPER FRONT

802-002

BUMPER PR:004 FRONT GT2 RS

802-005

TRIM BUMPER REAR

802-006

TRIM BUMPER REAR GT2 RS

802-007

BUMPER HEAT PROTECTION REAR

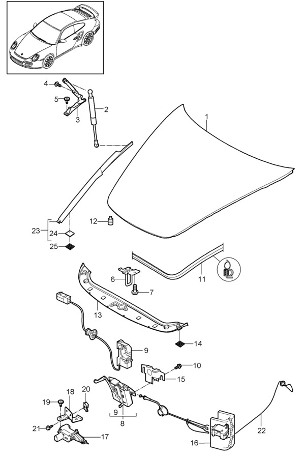
Cover, Rear Spoiler

803-000

COVER FRONT

803-005

COVER REAR

803-006

COVER REAR GT2

803-007

REAR SPOILER

803-008

REAR SPOILER GT2

803-009

COVER AND REAR SPOILER REAR PR:XAF

Door Shell, Door Seal, Door Handle, Window Regulator

804-000

DOOR SHELL INSTALLATION PARTS DOOR LOCK

804-010

DOOR SEAL SEAL WINDSCREEN

804-020

DOOR HANDLE

804-030

WINDOW REGULATOR & MOTOR

Window Glazing, Side Window

805-000

WINDOW GLAZING

805-005

SIDE WINDOW CABRIO

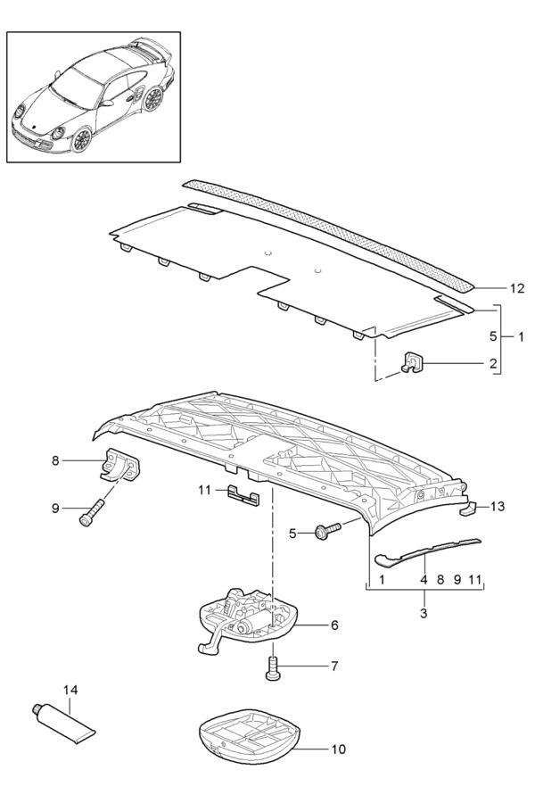
Luggage Compartment, Flooring, Trim, Linings, Roof Trim, A Pillar, Door Panel

807-000

LUGGAGE COMPARTMENT

807-002

CABIN CARPET

807-003

TRIM SILL

807-005

LININGS REAR COUPE

807-007

LININGS REAR CABRIO

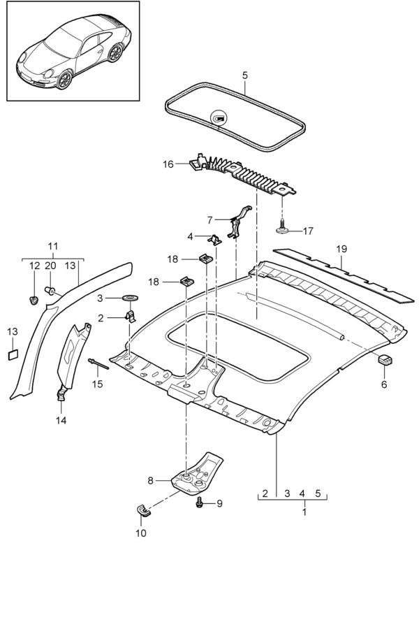
807-008

ROOF TRIM A PILLAR COUPE

807-009

A PILLAR WINDSHIELD FRAME SUN VIZORS CABRIO CABRIO COUPE/CABRIO

807-010

DOOR PANEL ACCESSORIES

807-011

DOOR PANEL ACCESSORIES FOR VEHICLES WITH SPORTS SEAT GT2 RS PR:004,377, 378,388,389

807-012

DOOR PANEL ACCESSORIES FOR VEHICLES WITH BUCKET SEAT GT GT2 RS PR:004,384, 385

Instrument Panel Trim, Accessories, Glove Box, Retaining Frame, Interior Mirror, Centre Console

809-000

INSTRUMENT PANEL TRIM UPPER PART WITH: FASTENERS

809-001

ACCESSORIES INSTRUMENT PANEL TRIM UPPER PART

809-003

GLOVE BOX COVER AND TRIM (DRIVERS SIDE)

809-004

RETAINING FRAME DASHBOARD

809-010

INTERIOR MIRROR EXTERIOR MIRROR

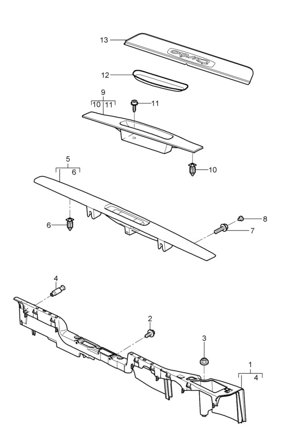
809-015

CENTRE CONSOLE FRONT

809-020

CENTRE CONSOLE REAR

Inscriptions/Lettering, Side Member Trim

810-000

INSCRIPTIONS/LETTERING DECORATIVE FITTINGS STONE GUARD FILM

810-005

SIDE MEMBER TRIM OUTER

Sunroof, Top Frame, Convertible Top, Convertible Top Covering, Flap, Convertible Top Stowage Box, Windbreak, Roll Bar, Hardtop

811-000

SUNROOF PR:650

811-005

TOP FRAME ROOF FRAME CATCH LUBRICANTS FRONT CABRIO

811-010

TOP FRAME INDIVIDUAL PARTS CABRIO

811-015

TOP FRAME INDIVIDUAL PARTS CABRIO

811-020

CONVERTIBLE TOP SEAL CABRIO

811-025

CONVERTIBLE TOP COVERING ROOFLINER CABRIO

811-030

FLAP FOLDING TOP SIDE CABRIO

811-035

CONVERTIBLE TOP DRIVING MECHANISM HYDRAULIC CABRIO

811-040

CONVERTIBLE TOP STOWAGE BOX COVER GASKETS CABRIO

811-045

WINDBREAK PR:551

811-050

ROLL BAR CABRIO

811-055

HARDTOP ACCESSORIES GASKETS PR:550

811-060

HARDTOP SOUND ABSORBER PR:550

Seat Belt

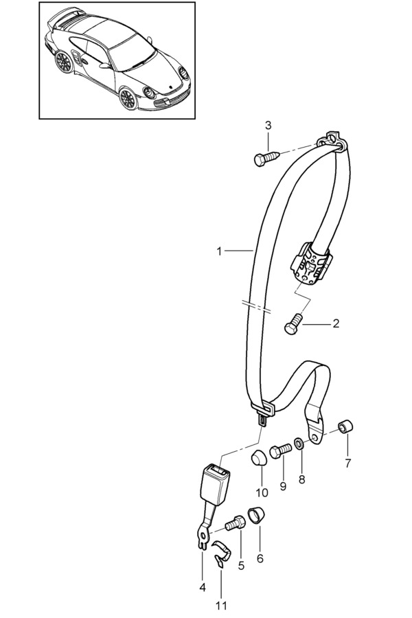
812-000

SEAT BELT ROLL CAGE FRONT COUPE

812-005

SEAT BELT FRONT CABRIO

812-010

SEAT BELT REAR COUPE

812-015

SEAT BELT REAR CABRIO

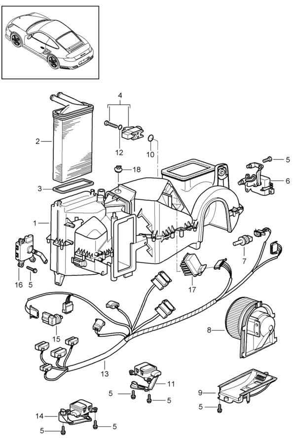
Heating System 1, Air Distributor, Air Conditioner, Water Drain Pipe, Compressor, Particulate Filter, Refrigerant Circuit, Fuel Cooling, Control Switch

813-000

HEATING SYSTEM 1 FEED LINE RETURN LINE

813-001

AIR DISTRIBUTOR PASSENGER COMPARTMENT

813-005

AIR CONDITIONER INDIVIDUAL PARTS

813-010

WATER DRAIN PIPE MOUNT AIR CONDITIONER

813-015

COMPRESSOR

813-020

PARTICULATE FILTER COWL PANEL COVERING

813-025

REFRIGERANT CIRCUIT

813-026

FUEL COOLING

813-045

CONTROL SWITCH

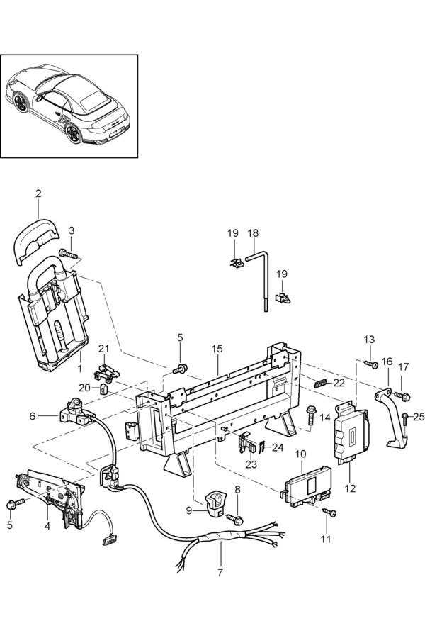
Front Seat, Foam Part, Backrest Shell, Backrest Frame, Seat Frame, Cushion Carrier, Wiring Looms, Heater, Lumbar Support, Emergency Seat Backrest, Back Seat Cushion, Bucket Seat, Body

817-000

FRONT SEAT (COMPLETE) NOT AVAILABLE COMFORT SEAT

817-002

FOAM PART COVER STANDARD SEAT COMFORT SEAT

817-004

BACKREST SHELL STANDARD SEAT COMFORT SEAT ACCESSORIES

817-006

BACKREST FRAME STANDARD SEAT COMFORT SEAT

817-008

SEAT FRAME STANDARD SEAT COMFORT SEAT

817-009

CUSHION CARRIER FRAME SEAT SURFACE STANDARD SEAT COMFORT SEAT

817-010

WIRING LOOMS SWITCH CONTROL UNIT ELECTRIC MOTOR STANDARD SEAT COMFORT SEAT

817-015

FRONT SEAT (COMPLETE) NOT AVAILABLE SPORTS SEAT

817-017

FOAM PART COVER SPORTS SEAT

817-018

HEATER FRONT SEAT

817-019

BACKREST SHELL SPORTS SEAT

817-021

BACKREST FRAME SPORTS SEAT

817-022

LUMBAR SUPPORT SEAT WIDTH ADJUSTMENT SEAT FRAME

817-023

SEAT FRAME SPORTS SEAT

817-024

CUSHION CARRIER FRAME SEAT SURFACE SPORTS SEAT

817-025

WIRING LOOMS SWITCH CONTROL UNIT ELECTRIC MOTOR SPORTS SEAT

817-040

EMERGENCY SEAT BACKREST ACCESSORIES COUPE

817-044

EMERGENCY SEAT BACKREST ACCESSORIES CABRIO

817-050

BACK SEAT CUSHION COUPE

817-054

BACK SEAT CUSHION CABRIO

817-060

BUCKET SEAT COLLAPSIBLE (COMPLETE) NOT AVAILABLE COUPE CABRIO

817-062

FOAM PART COVER SEAT AND BACKREST SURFACE BUCKET SEAT COLLAPSIBLE

817-064

BUCKET SEAT COLLAPSIBLE SEAT FRAME ACCESSORIES

817-066

BACKREST SHELL BUCKET SEAT COLLAPSIBLE ACCESSORIES

817-070

BODY SOUND PROOFING 1 COUPE

817-092

BUCKET SEAT COVER LEATHER D GT2 RS MJ 2011>> MJ 2011

Repair Kits

898-000

REPAIR KITS SET OF LOCKS COMPRISING: BRACKET DOOR HANDLE, EXTERIOR GLOVE COMPARTMENT LOCK KEY