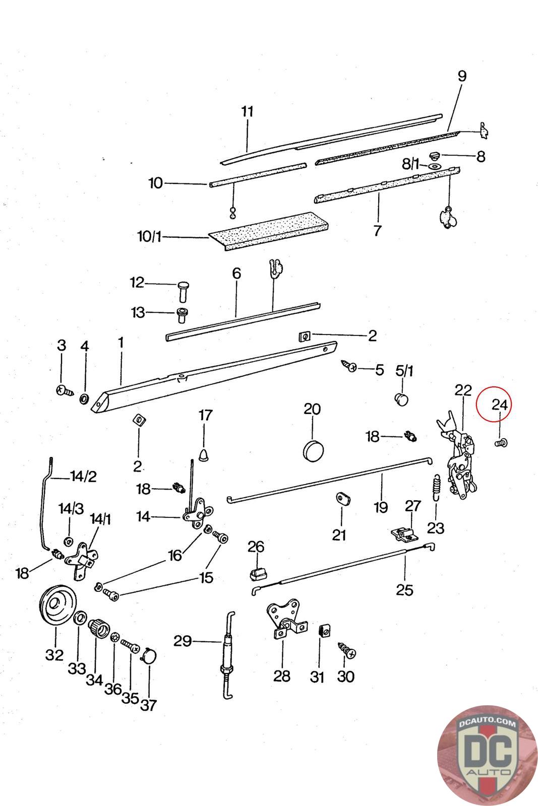
90014801804
DOOR LOCK MOUNTING SCREWS-RAIS. COUNTERS. H. TAP. S. AM 6X12 NLA
900 148 018 04 [73-]
SELECT
SERIAL #
56385
DESCRIPTION
-
CONDITION
USED - X
MILEAGE
-
PRICE
$15.00
$20.00
QTY
Available: 990
56385
-
USED - X
-
$
15.00
On Sale! $20.00
Available: 990