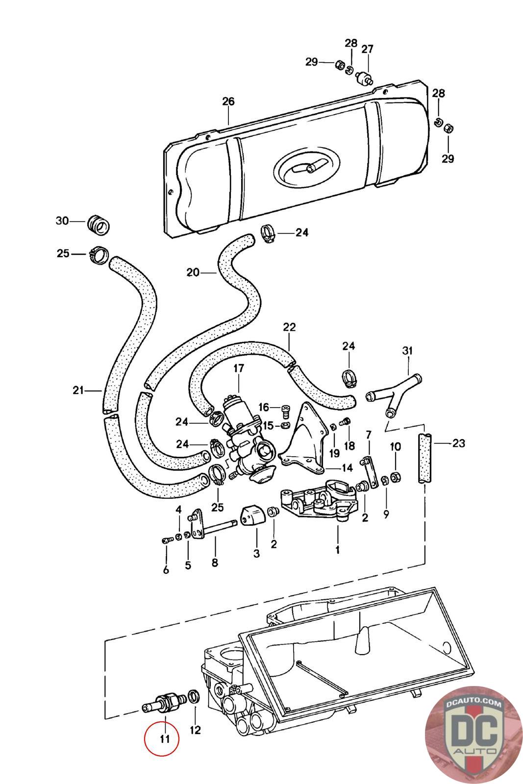
91112534101
UNION
911 125 341 01 [1976-]
SELECT
SERIAL #
58336
DESCRIPTION
-
CONDITION
USED - X
MILEAGE
-

58336
-
USED - X
-
